
| Design & Manufacturing | DIN EN 12516-1, BS EN 12516.1, BS EN13709, BS1873 |
| Face to Face Dimension | DIN EN558.1, BS EN 558-1 EN12982 |
| Flange Ends Dimension | BS EN 1092-1, DIN EN1092.1 |
| BW End Dimension | EN12627 |
| Test & Inspection | BS EN 12266, DIN N12266.1 |
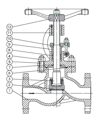
| Parts Name | Material | |||||
| Trim 1 | Trim 8 | Trim 5 | ||||
| 1 | Body | DIN 17245 GS-C25+CR 13 | DIN 17245 GS-C25+STL | DIN 17245 GS-C25+STL | DIN 17445 1.4308 | DIN 17445 1.4408 |
| 2 | Disc | DIN 17245 GS-C25+CR 13 | DIN 17245 GS-C25+CR 13 | DIN 17245 GS-C25+STL | DIN 17445 1.4308 | DIN 17445 1.4408 |
| 7 | Bonnet | DIN 17245 GS-C25+CR 13 | DIN 17245 GS-C25+CR 13 | DIN 17245 GS-C25+CR 13 | DIN 17445 1.4308 | DIN 17445 1.4408 |
| 9 | Gland | ASTM A182 F6a | ASTM A182 F304 | ASTM A182 F316 | ||
| 10 | Gland Flange | DIN 17245 GS-C25 | DIN 17445 1.4308 | DIN 17445 1.4408 | ||
| 3 | Stem | ASTM A182 F6a | ASTM A182 F304 | ASTM A182 F316 | ||
| 4 | Nut | A194 2H | A194 8 | A194 8 | ||
| 5 | Bolt | A193 B7 | A193 B8 | A193 B8 | ||
| 6 | Gasket | SS Spiral Wound W/graphite, or SS Spiral Wound W/ PTFE, or Reinforced PTFE | ||||
| 8 | Packing | Braided Graphite or Reformed Graphite Ring or PTFE | ||||
| 11 | Stem Nut | Copper Alloy or A439 D2 | ||||
| 12 | Hand Wheel | Ductile Iron or Carbon Steel | ||||