
| Design & Manufacture | BS 1873 |
| Face to Face | ASTM B16.10 |
| End Flanges Dimension | ASME B16.5 |
| Inspection & Test | API 598 |
| Parts Name | Carbon Steel to ASTM | Alloy Steel to ASTM | Stainless Steel to ASTM | ||||||||
| Body | A216 WCB | A352 LCB | A217 WC1 | A217 WC6 | A217 WC9 | A217 C5 | A351 CF8 | A351 CF8M | A351 CF3 | A351 CF3M | |
| Disc | A182 F6a | A182 F6a | A182 F6a | A182 F6a | A182 F6a | A182 F6a | A182 F304 | A182 F316 | A182 F304L | A182 F316L | |
| Disc Cover | A182 F6a | A182 F6a | A182 F6a | A182 F6a | A182 F6a | A182 F6a | A182 F304 | A182 F316 | A182 F304L | A182 F316L | |
| Stem | A182 F6a | A182 F6a | A182 F6a | A182 F6a | A182 F6a | A182 F6a | A182 F304 | A182 F316 | A182 F304L | A182 F316L | |
| Bellows Seal | A182 F304 | A182 F304 | A182 F304 | A182 F304 | A182 F304 | A182 F304 | A182 F304 | A182 F316 | A182 F304L | A182 F316L | |
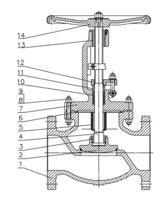
| 7. | Bonnet | A216 WCB | A352 LCB | A217 WC1 | A217 WC6 | A217 WC9 | A217 C5 | A351 CF8 | A351 CF8M | A351 CF3 | A351 CF3M |
| 8. | Bolt | A193 B7 | A320 L7 | A193 B7 | A193 B16 | A193 B16 | A193 B16 | A 193 B8 | A 193 B8M | A 193 B8 | A 193 B8M |
| 9. | Nut | A194 2H | A194 4 | A194 2H | A194 4 | A194 4 | A194 4 | A194 8 | A194 8M | A194 8 | A194 8M |
| 11. | Gland | A182 F6a | A182 F6a | A182 F6a | A182 F6a | A182 F6a | A182 F6a | A182 F304 | A182 F316 | A182 F304L | A182 F316L |
| 12. | Gland Flange | A216 WCB | A352 LCB | A217 WC1 | A217 WC6 | A217 WC9 | A217 C5 | A351 CF8 | A351 CF8M | A351 CF3 | A351 CF3M |
| Gasket | Flexible Graphite+ SS or PTFE | ||||||||||
| 10. | Packing | Flexible Graphite or PTFE | |||||||||
| 13. | Stem Nut | Copper alloy or A439 D2 | |||||||||
| 14. | Hand Wheel | Ductile Iron or Carbon Steel | |||||||||