The NACE MR0175 Check Valve Factory in China produces high-quality Swing Type Check Valves with a full port design. These valves feature a ductile iron body, ensuring durability and corrosion resistance. They have a 2-inch diameter (DN50) and can handle a maximum pressure of 2000 PSI, making them suitable for high-pressure applications. The valves are equipped with threaded ends for secure and reliable connections.
Product Name: Oil Field Check Valve, FP
Type: Swing Type Check Valve
NACE: NACE MR0175
Body Material: Ductile Iron
Size: 2 Inch, DN50
Pressure: 2000 PSI
End Connection: Threaded
Medium: Water, Oil, Gas
Temperature Range: -20°C to 80°C
This top-entry swing check valve is available in ductile iron, carbon steel, and aluminum bronze, with sizes ranging from 1 Inch to 4 Inches. Stainless steel discs are standard. The Series D features an improved design that simplifies bonnet removal. This valve's patented Hinge-Works feature extends its service life. Suitable for various industrial applications, including hydraulics, pneumatics, pumps, and plumbing, it is particularly ideal for oil & gas production lines where backflow prevention is crucial. The swing check valve offers simplicity and ease of repair through top entry to the valve internals. Its primary function is to prevent backflow of the medium in the pipeline.
Technical Specification
» Product: Oil Field Swing Check Valve
» Size Ranges: NPS 1-4 Inch (DN25-DN100)
» 2 Inch, 3 Inch, 4 Inch with plug on the cap
» 1 Inch without plug on the Cap
» Pressure: 300 to 2000 PSI WP
» Body Material: Ductile Iron ASTM A395
» Disc Material: SS 304
» Seat and Seal: Viton
» Port: Full Open
» NACE MR-0175 Compliance
» Threaded ends to ANSI B1.20.1(NPT)
» Inspection and Test According to API 598
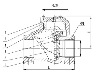
Structural Diagram

Main Parts and Materials
|
No. |
Part Name |
Material |
|
1 |
Body |
ASTM A395 |
|
2 |
Disc |
ASTM A351 CF8 |
|
3 |
Seat |
VITON |
|
4 |
Bonnet |
ASTM A395 |
|
5 |
Gasket |
VITON |
|
6 |
Plug |
ASTM A105 |
Main Dimensions (mm)
|
Size |
Port |
End |
Pressure |
L |
H |
d |
NPT |
Weight(kg) |
|
1 Inch |
FB |
FNPT |
300-2000 PSI |
108 |
82 |
25.4 |
11.5NPT |
2.66 |
|
2 Inch |
FB |
FNPT |
300-2000 PSI |
160 |
104 |
50.8 |
11.5NPT |
5.50 |
|
3 Inch |
FB |
FNPT |
300-2000 PSI |
210 |
136 |
77 |
8NPT |
8.99 |
|
4 Inch |
FB |
FNPT |
300-2000 PSI |
254 |
198 |
101 |
8NPT |
26.20 |