The China ASTM A395 Swing Check Valve is a high-quality component designed for reliable performance. It features a ductile iron body, ensuring durability and strength. Sized at 2 inches (DN50) with a pressure rating of 2000 PSI, it's ideal for demanding applications. The valve has NPT threaded ends for easy installation and a bolted cap/bonnet design for secure operation. Conforming to ASTM A395 standards, it offers excellent sealing and flow control, making it a robust choice for industrial use.
Product Name: ASTM A395 Swing Check Valves, Bolted Cap
Type: Swing Check Valve
Body Material: Ductile Iron ASTM A395
Size: 2 Inch, DN50
Pressure Rating: 2000 PSI
End Connection: NPT Threaded
Medium: Water, Oil, Gas, etc
Temperature Range: -20°C to 80°C
This top entry swing check valve is available in ductile iron, carbon steel, and aluminum bronze, with sizes ranging from 1 Inch to 4 Inches. Stainless steel discs are standard. The Series D has been improved by design, making bonnet removal simpler. The patented Hinge-Works feature extends the valve's life. Suitable for various industrial applications, including hydraulics, pneumatics, pumps, and plumbing, it is also an ideal choice for oil & gas production lines where backflow prevention is crucial. The swing check valve offers simplicity and easy repairability through top entry to the valve internals. Its primary function is to prevent the backflow of medium in the pipeline.
Technical Specification
» Product: Oil Field Swing Check Valve
» Size Ranges: NPS 1-4 Inch (DN25-DN100)
» 2 Inch, 3 Inch, 4 Inch with plug on the cap
» 1 Inch without plug on the Cap
» Pressure: 300 to 2000 PSI WP
» Body Material: Ductile Iron ASTM A395
» Disc Material: SS 304
» Seat and Seal: Viton
» Port: Full Open
» NACE MR-0175 Compliance
» Threaded ends to ANSI B1.20.1(NPT)
» Inspection and Test According to API 598
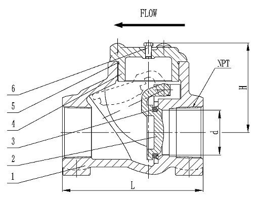
Structural Diagram

Main Parts and Materials
|
No. |
Part Name |
Material |
|
1 |
Body |
ASTM A395 |
|
2 |
Disc |
ASTM A351 CF8 |
|
3 |
Seat |
VITON |
|
4 |
Bonnet |
ASTM A395 |
|
5 |
Gasket |
VITON |
|
6 |
Plug |
ASTM A105 |
Main Dimensions (mm)
|
Size |
Port |
End |
Pressure |
L |
H |
d |
NPT |
Weight(kg) |
|
1 Inch |
FB |
FNPT |
300-2000 PSI |
108 |
82 |
25.4 |
11.5NPT |
2.66 |
|
2 Inch |
FB |
FNPT |
300-2000 PSI |
160 |
104 |
50.8 |
11.5NPT |
5.50 |
|
3 Inch |
FB |
FNPT |
300-2000 PSI |
210 |
136 |
77 |
8NPT |
8.99 |
|
4 Inch |
FB |
FNPT |
300-2000 PSI |
254 |
198 |
101 |
8NPT |
26.20 |