The Ductile Iron Swing Check Valve Factory produces high-quality full port check valves with ASTM A395 bodies, designed for durability and reliability. These valves have a 2-inch (DN50) size and can handle a maximum pressure of 2000 PSI, making them suitable for high-pressure applications. They feature NPT threaded ends for easy installation and integration into piping systems.
Product Name: Ductile Iron Swing Check Valve, Full Port
Body Material: Ductile Iron ASTM A395
Size: 2 Inch, DN50
Pressure: 2000 PSI
End Connection: NPT Threaded
Medium: Water, Oil, Gas, etc
Temperature Range: -20°C to 80°C
The top entry swing check valve is available in ductile iron, carbon steel, and aluminum bronze, with sizes ranging from 1 inch to 4 inches. Stainless steel discs are standard. The Series D has an improved design that simplifies bonnet removal. Thanks to the valve's patented Hinge-Works feature, it offers an extended service life. Suitable for a variety of industrial applications such as hydraulics, pneumatics, pumps, and plumbing, this valve is also an ideal choice for oil & gas production lines where backflow prevention is crucial. The swing check valve is simple in design and easily repairable, with top entry access to the valve internals. Its primary function is to prevent the backflow of fluid in pipelines.
Technical Specification
» Product: Oil Field Swing Check Valve
» Size Ranges: NPS 1-4 Inch (DN25-DN100)
» 2 Inch, 3 Inch, 4 Inch with plug on the cap
» 1 Inch without plug on the Cap
» Pressure: 300 to 2000 PSI WP
» Body Material: Ductile Iron ASTM A395
» Disc Material: SS 304
» Seat and Seal: Viton
» Port: Full Open
» NACE MR-0175 Compliance
» Threaded ends to ANSI B1.20.1(NPT)
» Inspection and Test According to API 598
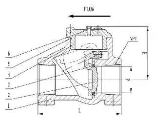
Structural Diagram

Main Parts and Materials
|
No. |
Part Name |
Material |
|
1 |
Body |
ASTM A395 |
|
2 |
Disc |
ASTM A351 CF8 |
|
3 |
Seat |
VITON |
|
4 |
Bonnet |
ASTM A395 |
|
5 |
Gasket |
VITON |
|
6 |
Plug |
ASTM A105 |
Main Dimensions (mm)
|
Size |
Port |
End |
Pressure |
L |
H |
d |
NPT |
Weight(kg) |
|
1 Inch |
FB |
FNPT |
300-2000 PSI |
108 |
82 |
25.4 |
11.5NPT |
2.66 |
|
2 Inch |
FB |
FNPT |
300-2000 PSI |
160 |
104 |
50.8 |
11.5NPT |
5.50 |
|
3 Inch |
FB |
FNPT |
300-2000 PSI |
210 |
136 |
77 |
8NPT |
8.99 |
|
4 Inch |
FB |
FNPT |
300-2000 PSI |
254 |
198 |
101 |
8NPT |
26.20 |