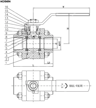
The ASTM A105N Ball Valves Manufacturer provides ball valves in compliance with ASME B16.34 standards. These valves feature a 3-piece body design made from forged carbon steel, ensuring strength and durability. The 1/2 inch (DN15) valves are rated for Class 800 LB (PN130) and are equipped with FNPT (Female National Pipe Thread) threaded ends for easy installation. The lever operation provides quick and reliable control.
Product Name: 3-piece Forged Steel Ball Valve
Design Standard: ASME B16.34
Body Material: ASTM A105N
Size: 1/2 Inch, DN15
Pressure: Class 800 LB, PN130
End Connection: FNPT
Operation: Lever
Forged Steel Ball Valves are available in Two-Piece Split Body and Three-Piece Bolted Body designs. The forging material provides excellent rigidity and strength, ensuring optimal performance under maximum rated operation pressure without the inherent flaws often found in cast materials. The separate body design, with adequate wall thickness and high-strength tie bolts, ensures ease of valve maintenance and the ability to withstand pipe stress. The internal components are meticulously designed and selected for reliability, ensuring consistent performance across various working conditions.
Technical Specification
» Size Range: 1/2-2 Inch (DN15-DN50) (for Forged Items)
» Design Pressure: Class 150-1500 LB (PN10-PN250)
» Materials:
Carbon Steel, Alloy Steel, Stainless Steel, Duplex Steel, etc
ASTM A105N, A350 LF2, A182 F11, F22, F304, F304L, F316, F316L
» Trim Materials: 13%Cr, ASTM A182 F11, F22, SS 304, SS 304L, SS 316, SS 316L, and other specials
» Seat Materials: PTFE, RPTFE, PEEK
» Ends Connections: SW, FNPT, BW
» Design and Manufacture: ASME B16.34
» Face to Face (End to End): ANSI B16.10
» Flanged Connection: ANSI B16.5
» Test and Inspection: API 598, API 6D
» Butt Welded Ends: ANSI B16.5
» Threaded Ends: ASME B1.20.1
» Socket-Weld Ends: ASME B16.11
» Medium: Water, Gas, Oil, etc.
» Temperature Range: -29°C to 150°C

Product Features
Forged Steel Floating Ball Valves are available in One-Piece Uni-body, Two-Piece Split Body, and Three-Piece Bolted Body designs. These valves are engineered and manufactured to meet the latest international standards, including API 6D, ASME B16.34, BS 5351, or equivalent standards. They come with standard features such as fire-safe design, anti-static protection, and blow-out prevention, ensuring enhanced safety and reliability in various industrial applications.