
| Design Standard | API 6D, ASME B12634 |
| Face to Face | ASTM B16.10, API 6D |
| End Flange Dimensions | ASME B16.5, MSS SP44 |
| Inspection & Test | API 598, API 6D |
| Part Name | Carbon Steel to ASTM | Alloy Steel to ASTM | Stainless Steel to ASTM | ||||||||
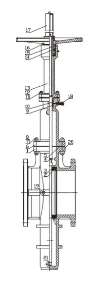
| Body | A216 WCB | A352 LCB | A217 WC1 | A217 WC6 | A217 WC9 | A217 C5 | A351 CF8 | A351 CF8M | A351 CF3 | A351 CF3M | |
| Seat | A105+PTFE | SS+PTFE | |||||||||
| Slab | A105+ENP | A105+ENP | A105+ENP | A105+ENP | A105+ENP | A105+ENP | A182 F304 | A182 F316 | A182 F304L | A182 F316L | |
| Stem | A276 420 | A276 420 | A276 420 | A276 420 | A276 420 | A276 420 | A276 304 | A276 316 | A276 304L | A276 316L | |
| Gasket | Graphite+304, SS Spiral Wound, PTFE, Reinforced PTFE, etc. | ||||||||||
| Bonnet | A216 WCB | A352 LCB | A217 WC1 | A217 WC6 | A217 WC9 | A217 C5 | A351 CF8 | A351 CF8M | A351 CF3 | A351 CF3M | |
| Bolt | A193 B7 | A320 L7 | A193 B7 | A193 B16 | A193 B16 | A193 B16 | A193 B8 | A193 B8 | A193 B8 | A193 B8 | |
| Nut | A194 2H | A194 4 | A194 2H | A194 4 | A194 4 | A194 4 | A194 8 | A194 8 | A194 8 | A194 8 | |
| Packing | Reinforced Graphite or PTFE | ||||||||||
| Sealing Shroud | A276 420 | A276 420 | A276 420 | A276 420 | A276 420 | A276 420 | A276 304 | A276 316 | A276 304L | A276 316L | |
| Bolt | A193 B7 | A320 L7 | A193 B7 | A193 B16 | A193 B16 | A193 B16 | A193 B8 | A193 B8 | A193 B8 | A193 B8 | |
| Nut | A194 2H | A194 4 | A194 2H | A194 4 | A194 4 | A194 4 | A194 8 | A194 8 | A194 8 | A194 8 | |
| Yoke | A216 WCB | A352 LCB | A217 WC1 | A217 WC6 | A217 WC9 | A217 C5 | A351 CF8 | A351 CF8M | A351 CF3 | A351 CF3M | |
| Stem Nut | Copper Alloy or A439 D2 | ||||||||||
| Gland | A105 | A105 | A105 | A105 | A105 | A105 | A182 F304 | A182 F316 | A182 F304L | A182 F316L | |
| Hand Wheel | Ductile iron or Carbon steel | ||||||||||
| Stem Protector | Carbon Steel | ||||||||||
| Position Indicator | SS304 or SS316 | ||||||||||
| Injection Fitting | SS304 or SS316 | ||||||||||
| Scutcheon | 1Cr18Ni9Ti, SS304 or SS316 | ||||||||||
| Spring | SS302, SS304 or SS316 | ||||||||||