
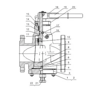
Parts & Material:
1. Bolt: ASTM A193-B7, A320-B8, A193-B8M.
2. Nut: ASTM A194-2H, A194-8, A194-8M.
3. Cover: ASTMA216-WCB, A217-WC1, WC6, WC9, C5, C351-CF8, CF8M, CF3, CF3M.
4. Metal Diaphragm: ASTM SS304, 304L, 316, 316L.
5. Wind Gasket: Flexible Graphite + Stainless Steel.
6. Set for Ball: ASTM A276 410, A276 304, 304L, 316, 316L.
7. Ball: ASTM SS304, 304L, 316, 316L.
8. Plug: ASTM A217CA15, A182F6a, A351 CF8, CF8M, CF3, CF3M.
9. Body: ASTM A216-WCB, A217-WC1, WC6, WC9, C5, C351-CF8, CF8M, CF3, CF3M.
10. Check Valve: UCA.
11. Gasket: PTFE.
12. Stem: ASTM A182 F6a, A182 F304, F316, F304L, F316L.
13. Ring: Viton.
14. Bolt: ASTM A193-B7. A320-B8, A193-B8M.
15. Packing: Flexible Graphite.
16. Grease Nozzle: UCA.
17. Nozzle: UCA.
18. Hand hole: ASTM A216-WC6.
19. Pipe: ASTM A570.
20. Gland: ASTM A216-WCB, A217-WC1, WC6, WC9, C5, A351-CF8.
21. Lock Nut: ASTM A194-2H, A194-8, A194-8M.
22. Adjusting Bolt: ASTM A193-B7, A320-B8, A193-B8M.
Operation
|
Manual |
| Electric Actuator |
| Design Standard |
API 599, API 6D |
| Face to Face |
ASME B16.10 |
| Flange Ends |
ASME B16.5 |
| Test & Inspection |
API598 API 60 |
| Nominal Pressure |
Shell Test |
Sealing Test |
Suitable Temp. |
Fluids |
| 150 |
3.0 |
2.2 |
≤300°C |
Water Oil & Gas |
| 300 |
7.5 |
5.5 |
| 600 |
15.0 |
11.0 |
| 900 |
22.5 |
16.5 |
Dimensions and Weights:
| Pressure |
150 Lbs |
| Size |
mm |
15 |
20 |
25 |
32 |
40 |
50 |
65 |
80 |
100 |
125 |
150 |
200 |
250 |
300 |
350 |
| in |
1/2 |
3/4 |
1 |
11/4 |
11/2 |
2 |
21/2 |
3 |
4 |
5 |
6 |
8 |
10 |
12 |
14 |
| L-RF |
108 |
117 |
127 |
140 |
165 |
178 |
190 |
203 |
229 |
245 |
267 |
292 |
330 |
356 |
381 |
| L-BW |
152 |
178 |
203 |
216 |
229 |
267 |
305 |
330 |
356 |
381 |
394 |
457 |
533 |
610 |
686 |
| H |
180 |
180 |
185 |
200 |
210 |
215 |
250 |
270 |
300 |
340 |
365 |
400 |
450 |
510 |
590 |
| W |
400 |
400 |
500 |
500 |
600 |
600 |
820 |
820 |
300 |
300 |
320 |
320 |
350 |
380 |
380 |
| Weight (Kg) |
10 |
12 |
14 |
17 |
19 |
21 |
29 |
33 |
48 |
75 |
98 |
125 |
171 |
230 |
370
|
| Pressure |
300 Lbs |
| Size |
mm |
15 |
20 |
25 |
32 |
40 |
50 |
65 |
80 |
100 |
125 |
150 |
200 |
250 |
300 |
350 |
| in |
1/2 |
3/4 |
1 |
11/4 |
11/2 |
2 |
21/2 |
3 |
4 |
5 |
6 |
8 |
10 |
12 |
14 |
| L-RF |
140 |
152 |
165 |
178 |
190 |
216 |
241 |
283 |
305 |
381 |
403 |
419 |
457 |
502 |
762 |
| L-BW |
152 |
178 |
203 |
216 |
229 |
267 |
305 |
330 |
356 |
381 |
457 |
521 |
550 |
635 |
762 |
| H |
180 |
180 |
185 |
200 |
210 |
215 |
250 |
270 |
300 |
340 |
365 |
400 |
450 |
510 |
590 |
| W |
400 |
400 |
500 |
600 |
600 |
820 |
1000 |
1000 |
300 |
300 |
320 |
320 |
350 |
380 |
380 |
| Weight (Kg) |
12 |
14 |
16 |
19 |
21 |
24 |
31 |
36 |
61 |
86 |
130 |
190 |
255 |
380 |
560 |
| Pressure |
600 Lbs |
| Size |
mm |
15 |
20 |
25 |
32 |
40 |
50 |
65 |
80 |
100 |
125 |
150 |
200 |
250 |
300 |
350 |
| in |
1/2 |
3/4 |
1 |
11/4 |
11/2 |
2 |
21/2 |
3 |
4 |
5 |
6 |
8 |
10 |
12 |
14 |
| L-RF.BW |
165 |
190 |
216 |
229 |
214 |
292 |
330 |
356 |
432 |
508 |
559 |
660 |
787 |
838 |
889 |
| H |
180 |
180 |
185 |
200 |
210 |
215 |
250 |
270 |
300 |
340 |
365 |
400 |
450 |
510 |
590 |
| W |
400 |
400 |
500 |
500 |
600 |
820 |
1000 |
1000 |
300 |
300 |
320 |
320 |
350 |
380 |
380 |
| Weight (Kg) |
14 |
16 |
18 |
20 |
24 |
29 |
35 |
47 |
91 |
129 |
210 |
320 |
660 |
920 |
1250 |
| Pressure |
900 Lbs |
| Size |
mm |
15 |
20 |
25 |
32 |
40 |
50 |
65 |
80 |
100 |
125 |
150 |
200 |
250 |
300 |
350 |
| in |
1/2 |
3/4 |
1 |
11/4 |
11/2 |
2 |
21/2 |
3 |
4 |
5 |
6 |
8 |
10 |
12 |
14 |
| L-RF.BW |
229 |
229 |
254 |
279 |
305 |
368 |
419 |
381 |
457 |
559 |
610 |
737 |
838 |
965 |
1029 |
| H |
180 |
180 |
185 |
200 |
210 |
215 |
250 |
270 |
300 |
340 |
365 |
400 |
450 |
510 |
590 |
| W |
400 |
400 |
500 |
500 |
600 |
820 |
1000 |
1000 |
300 |
300 |
320 |
320 |
350 |
380 |
380 |
| Weight (Kg) |
17 |
29 |
21 |
24 |
30 |
37 |
44 |
65 |
110 |
160 |
255 |
.380 |
810 |
1050 |
1460 |