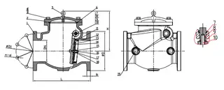
Product Item: AWWA C508 Swing Check Valve
Standard: AWWA C508
Connection Ends: Flange to ASME B16.1 Class 125 LB
Working Pressure: 300 PSI
200 PSI and 250 PSI available upon request
Temperature Range: Rubber Seal: 0℃ to 80℃, Metal Seal: -10℃ to 200℃
Coating: Fusion Bonded Epoxy Coating in accordance with ANSI/AWWA C550 or painting upon request


