Product Item: AWWA C508 Swing Check Valve
Standard: AWWA C508
Working Pressure: 300 PSI
200 PSI and 250 PSI available upon request
Connection Ends: Flange to ASME B16.1 Class 125 LB
Temperature Range: Rubber Seal: 0°C to 80°C, Metal Seal: -10°C to 200°C
Coating: Fusion Bonded Epoxy Coating following ANSI/AWWA C550 or painting upon request

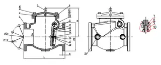
Material Specification
| Part No. | Part | Standard Specification |
| 1 | Body | Ductile Iron 65-45-12 |
| 2 | Bonnet | Ductile Iron 65-45-12 |
| 3 | Bolts | Carbon Steel Zine Plated |
| 4 | Washer | Carbon Steel Zine Plated |
| 5 | Eye Bolt | Carbon Steel Zine Plated |
| 6 | O-Ring | NBR |
| 7 | Washer | PTFE |
| 8 | Plug | AISI 304 |
| 9 | Hinpe | AISI 420 |
| 11 | Seat Ring | Bronze ASTM B62 |
| 12 | Seal | EPDM |
| 13 | Disc | Ductile Iron 65-45-12 |
| 14 | Plate | Ductile Iron 65-45-12 (6"-12") AISI 304 (2"-4") |
| 15 | Nut | AISI 304 |
| 16 | Bolt | AISI 304 |
| 17 | Spring Washer | AISI 304 |
| 18 | Flat Washer | AISI 304 |
| 19 | Plug | Tin Bronze |
Note: For special material requests that differ from the standard specifications, please clearly indicate them on the inquiry or order list.
Dimensions
| DN | Dimensions (mm) | |||||||
| Inch | mm | L | D | D1 | b |
n-ød |
H | |
| Standard | Optional | |||||||
| 2" | 50 | 203 | 203 | 152 | 120.5 | 16.5 | 4-ø19.1 | 133 |
| 2.5" | 65 | 254 | 216 | 178 | 139.5 | 17.5 | 4-ø19.1 | 150 |
| 3" | 80 | 278 | 241 | 191 | 152.5 | 19 | 4-ø19.1 | 150 |
| 4" | 100 | 330 | 292 | 229 | 190.5 | 24 | 8-ø19.1 | 218 |
| 6" | 150 | 406 | 356 | 279 | 241.5 | 25.5 | 8-ø22.2 | 290 |
| 8" | 200 | 495 | 495 | 343 | 298.5 | 28.5 | 8-ø22.2 | 330 |
| 10" | 250 | 622 | 622 | 406 | 362 | 30.5 | 12-ø25.4 | 350 |
| 12" | 300 | 660 | 698 | 483 | 432 | 32 | 12-ø25.4 | 376 |
Note: Standard of Face-to Face in according with AWWA C508.
Optional of Face-to Face in according with ASME B16.10 CL125.