The China EN 1.0619 Gate Valve Supplier offers a robust wedge gate valve designed for reliable performance in industrial applications. This valve features a carbon steel body, ensuring durability and strength. It conforms to the DIN 3352 F4 standard, providing high-quality construction and compatibility. With a nominal diameter of DN200 (8 inches) and a pressure rating of PN16 (Class 150 LB), it is suitable for handling various fluids at moderate pressures. The valve is equipped with RF (Raised Face) flanged ends for secure and leak-free connections. Operated by a handwheel, it allows for easy manual control.
Product Name: EN 1.0619 Wedge Gate Valve
Type: Wedge Gate Valve
Design Standard: DIN 3352 F4
Body Material: EN 1.0619
Size: DN200, 8 Inch
Pressure: PN16, Class 150 LB
End Connection: RF Flanged
Operation: Handwheel
Medium: Water, Oil, Gas, etc
Temperature Range: -29°C to 595°C
Wedge Gate Valves are engineered to limit volatile organic compound (VOC) leakage to less than 100 parts per million (ppm). Comprehensive baseline laboratory testing, including both static and cycle testing, has been conducted to define the critical design parameters required for achieving low-emission sealing in both the stem packing and bonnet gasket areas. To maintain this standard, KOSEN has developed an in-house testing procedure that is regularly performed, ensuring that every valve meets the VOC leakage limit of 100 ppm before shipment.
Technical Specification
» Nominal Diameter: DN50-DN1000, 2-40 Inch
» Temperature Range: -29°C to 595°C
» Design Pressure: PN6 to PN16, Class 125, 150 LB
» Body/Bonnet/Wedge Materials:
» Stem: X20Cr13 or EN 1.4021; Stainless Steel (EN 1.4308, EN 1.4408)
» Seat Options: 13Cr, 18Cr, Stellite
» End Connections: RF Flange, Groove Flange, Butt Weld (BW)
» Operation Modes: Handwheel, Bevel Gear, Electric, Pneumatic
» Structure: BB-BG-OS&Y (Bolted Bonnet, Bolted Gland, Outside Stem & Yoke)
» Design Standard: DIN 3352
» Face-to-Face Dimensions: EN 558-1 Series 14 (DIN 3202 F4 series)
» Flange Standards: DIN 2543–2547, EN 1092-1, GOST 12815/12819
» Butt Weld Ends: EN 12627
» Testing & Inspection: DIN 3230
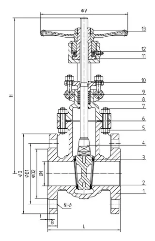
Structural Diagram

Product Features
» Anti-Friction Ball Thrust Bearing: Minimizes friction between moving parts for smooth and reliable valve operation.
» Grub Screw: Locks the yoke nut securely into the bonnet for added stability.
» Grease Nipple: Allows for easy lubrication of internal mating components to enhance performance and longevity.
» OS&Y (Outside Stem and Yoke): Provides clear visual indication of valve position and simplifies maintenance.
» Metal-Sealed Trim Options: Available in Trim #1, #5, #8, #10, and more for various service conditions.
» Optional Locking Device or Stem Extension: Enhances security and accessibility based on installation needs.
» Optional ISO 5211 Direct Mounting: Facilitates easy actuator integration without additional brackets.
» Full Port Design: Ensures minimal pressure drop and unrestricted flow.