The Bolted Bonnet Globe Valves from our supplier are designed to meet the stringent requirements of industrial applications. These valves are manufactured in compliance with BS 1873 and feature a robust cast carbon steel body made from ASTM A216 WCB material, ensuring durability and reliability. The 8-inch (DN200) size and Class 150 LB (PN20) pressure rating make them suitable for handling significant flow rates and pressures. The RF flanged ends provide secure and leak-free connections, while the manual operation ensures precise control.
Product Name: BS 1873 Globe Valves, Bolted Bonnet
Design Standard: BS 1873
Body Material: ASTM A216 WCB, Cast Carbon Steel
Size: 8 Inch, DN200
Pressure: Class 150 LB, PN20
End Connection: RF Flanged
Operation: Manual
Medium: Water, Oil, Gas, etc
Temperature Range: -29°C to 595°C
Cast Steel Globe Valves are meticulously designed and manufactured to achieve a leakage rate of less than 100 ppm (parts per million) of volatile organic compounds (VOCs). This stringent performance standard is ensured through extensive baseline laboratory testing, which includes both static and cycle testing. These tests have been instrumental in identifying and establishing the critical design parameters necessary to achieve low-emission sealing in two key areas: the KOSEN stem packing seal area and the bonnet gasket sealing area. To further ensure consistent product quality and compliance with low-emission standards, an in-house testing procedure has been developed. This procedure is periodically performed to verify that the standard product design and manufacturing criteria consistently result in KOSEN Cast Steel Globe Valves meeting a maximum VOC leakage rate of 100 ppm prior to shipment. This rigorous testing and quality control process guarantees that each valve is reliable and environmentally responsible.
Technical Specification
» Nominal Diameter: NPS 1/2–24 Inch (DN15–DN600)
» Design Pressure: Class 150–2500 LB (PN10–PN420)
» Materials: ASTM A216 WCB, WCC, A217 WC6, WC9, C5, C12A, A352 LCB, LCC, A351 CF8, CF8M, CF3M, CF8C, CN3MN, CK3MCUN, CN7M, A890 4A (CD3MN), 5A (CE3MN), 6A (CD3MWCuN), B148 C95800, C95500
» End Connections: Flanged (FF, RF, RTJ) and BW to international standards
» Operation: Handwheel, bevel gear, electric, pneumatic
» Applications: Electric power, petroleum refining, petrochemical engineering, offshore oil, urban water engineering, chemical engineering
» Design and Manufacture: ASME B16.34, BS 1873, DIN 3356
» Face to Face (End to End): ANSI B16.10, EN 558 series
» Flanged Connection: ANSI B16.5, EN 1092 series
» Butt Welded End: ANSI B16.25
» Test and Inspection: API 598, ISO 5208, EN 12266-1
» Temperature Range: -29°C to 595°C
» Medium: Water, gas, oil, and other fluids
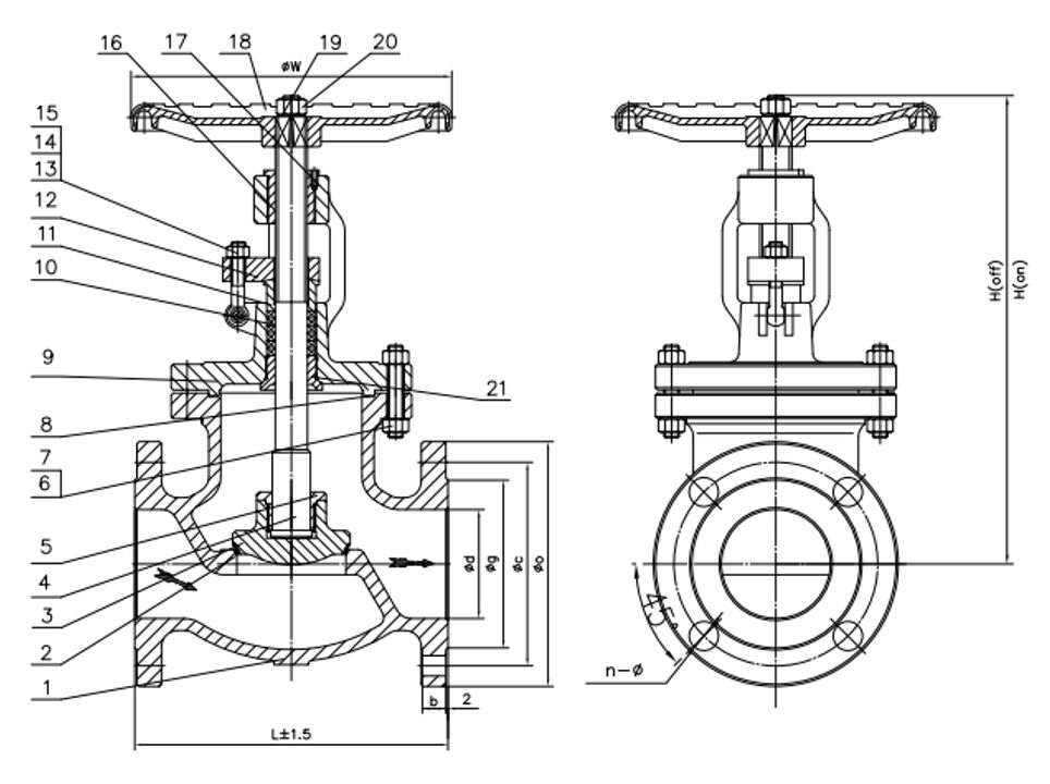
Structural Diagram

Product Features
» OS&Y, bolted bonnet, rising stem
» Short stroke for easy – quick open/close
» For big size and high pressure: relief cone = internal bypass
» Disc sealing could be: flat sealing, throttle cone=regulating disc
» Body seat could be threaded seat or welded seat
» OS&Y, Outside Stem and Yoke
» Metal-sealed(API Trim #1, #5, #8, #10 and etc.)
» Optional Locking Device or Stem Extension
» Optional Direct Monting to ISO 5211
» Reduce Port