
Abstract: The harsh working conditions of high temperature oil slurry with catalyst particles and media containing hydrogen sulfide are introduced; the selection principles of dedicated valves used for high temperature oil slurry are discussed; The material selection principle and combination of components' materials of dedicated valves for high temperature oil slurry are analyzed and the special lining wear-resistant structure design, use and maintenance of lining and testing regulations of dedicated valves for high temperature oil slurry are provided. The problems of the poor sealing performance and short service life of ordinary gate valves that are likely to cause accidents in high temperature oil slurry pipelines of catalysis units in the oil refinery are solved.
1.
Overview
The dedicated valve for high temperature oil slurry is an important control valve for pumps of the oil slurry in the refinery, which is installed at key parts of petrochemical catalysis devices such as outlets of oil slurry pumps and heat exchangers of the oil slurry in the high temperature oil slurry pipeline system of the petrochemical catalysis unit. Media of the high temperature oil slurry contain a large number of solid catalysts, which causes serious wear on pumps and valves of the oil slurry. Moreover, hydrogen sulfide in petrochemical catalysis devices is highly corrosive. Pumps and valves of oil pumps are used to adjust the slurry flow for some petrochemical catalysis devices. After the valves are used for 2 to 3 months or even less, the valve body is damaged by the abrasion of the catalyst particles in the oil slurry. When it is necessary to close the valve in order to repair the oil slurry pump, the valve cannot be sealed due to severe wear. Dry ice or other methods can only be used to prevent the leakage of the oil slurry, which will not only pollute the environment, but also can cause a fire if the oil slurry leaks seriously. A dedicated valve for high temperature oil slurry has been developed based on the severe working conditions of petrochemical catalysis equipment, such as high temperature, flushing of solid particles, corrosion by sulfur and abrasion.
2.
The technical index and selection of valves
2.1
Parameters of working conditions
Working temperature: being less than or equal to 550 ℃
Nominal pressure: between PN25 and PN64 (CL150 to CL400)
Nominal diameters: from DN100 to DN900
Working media: high temperature oil slurry containing sulfur from 0.35% to 0.5% and solid particles of the catalyst 8g/L, with a flow rate of 5m/s
2.2
Selection of valves
(1)
Ball valves
According to trial production and use experience, it is found that when the
metal seated ball valve is used in high temperature oil slurry conditions, the using effect is poor. After analyses, the main problems are as follows:
① The uneven force of the spring will cause elastic fatigue in the long-term high temperature state, and it is difficult to obtain a good sealing; particles and impurities of the oil slurry and catalysts enter the spring cavity behind the valve seat, which will make the spring loses its elasticity, resulting in leakage.
② When the temperature and pressure of the valve seat change, the valve seat and ball are jammed or the valve can't be opened or closed because of not being able to obtain the elastic compensation of the spring.
③ When the ball valve is normally opened or closed at high temperature, the impurities in the oil slurry will form scale, which will tightly bond the valve seat and ball together, causing the valve not to be opened or closed effectively.
(2)
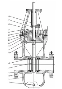
Gate valves
While selecting the
gate valve, we should design the sealing surface of the valve plate as a special structure, which can prevent the catalyst particles in the medium and impurities in the oil slurry from scouring and damaging the upstream sealing surface of the valve plate when the valve is fully opened or fully closed, thus ensuring the reliability of the sealing of gate valves.
3.
Selection of valves' materials
Considering the characteristics of high temperature oil slurry, the design principle should be the safety, reliability and superior performance of the valve. There are three factors which need to be considered. The first one is that the main body of the valve should be made from high temperature heat-resistant steel, and high temperature material has high temperature strength, high temperature oxidation resistance and high temperature creep strength, which can fully meet the temperature fluctuation of high temperature media of the oil slurry. The second one is that the material should be able to resist sulfide corrosion. The third one is that the material should meet the performance of being resistant to scouring and wearing. Therefore, heat-resistant chromium-molybdenum alloy steel containing much Cr and Mo with a high temperature less than or equal to 550℃ and being resistant to sulfide corrosion is adopted as the main material of the dedicated valve for high temperature oil slurry. According to the various situations of the working conditions, the material selection and combination of valve parts are given (Table 1).
Table 1 The material selection and combination of shells, internal parts and fasteners
| Media |
Main materials of valves |
Materials for valve stems |
Fasteners |
Remarks |
| High temperature oil slurry and high temperature oil slurry containing catalysts |
WC6 |
F6a |
B16/7, 25C2MoVA or 35CrMoA
|
Working conditions not containing hydrogen sulfide
|
C5 or ZGCr5Mo
|
616H or 25Cr2MoVA |
Working conditions containing hydrogen sulfide |