Product Item: Threaded Y-Type Strainer
Body Material: Ductile Iron ASTM A536 Grade 65-45-12
Screen Material: AISI 304
Working Pressure: 500 PSI
Coating: Painting
Connection Ends: Thread to ANSI/ASME B1.20.1

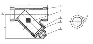
Material Specification
| Part No. | Part | Standard Specification | Options |
| 1 | Body | ASTM A536, 65-45-12 | |
| 2 | Screen | AISI 304 | AISI 316 |
| 3 | Sealing Washer | Graphite+Acanthopore Plate | PTFE |
| 4 | Cover | ASTM A356, 65-45-12 | |
| 5 | Plug | Malleable Iron Galvanized |
Note: For Special material request that differ from standard specification, please clearly indicate them on the inquiry or order list.
Dimensions
| DN | Dimensions (mm) | |||||
| Inch | mm | A | B (max) | Plug | t | t1 |
| 1/4" | 8 | 81 | 55 | 1/4" | 2.4 | 2.4 |
| 3/8" | 10 | 81 | 57 | 1/4" | 2.5 | 2.5 |
| 1/2" | 15 | 81 | 70 | 3/8" | 2.54 | 2.54 |
| 3/4" | 20 | 95 | 72 | 3/8" | 3 | 3 |
| 1" | 25 | 102 | 78 | 1/2" | 4.06 | 4.06 |
| 1-1/4" | 32 | 127 | 92 | 1/2" | 4.83 | 4.83 |
| 1-1/2" | 40 | 146 | 118 | 1/2" | 4.83 | 4.83 |
| 2" | 50 | 177 | 120 | 1/2" | 5.59 | 5.59 |
| 2-1/2" | 65 | 234 | 136 | 3/4" | 5.59 | 5.59 |
| 3" | 80 | 254 | 150 | 3/4" | 5.59 | 5.59 |