Product Item: Micro Air Bleeding Valve
Body Material: ASTM A536 Grade 65-45-12
Size Range: 1/2 Inch to 1-1/2 Inch
Working Pressure: 300 PSI
Coating: Fusion Bonded Epoxy Coating per ANSI/AWWA C550
Temperature Range: 0°C to 55°C
Connection Ends: ASME B1.20.1

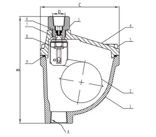
Material Specification
| Part No. | Part | Standard Specification |
| 1 | Valve Body | ASTM A536 64-45-12 |
| 2 | Ball | AISI 304 |
| 3 | Hex Bolt | Carbon Steel Zinc Plated |
| 4 | Bonnet | ASTM A536 64-45-12 |
| 5 | Exhaust Joint | Brass HPd59-1 |
| 6 | Exhaust Gasket | EPDM |
| 7 | Valve Needle | AISI 304 |
| 8 | Nut | AISI 304 |
| 9 | O-Ring | NBR |
Note: For special material request that differ from standard specification, please clearly indicate them on the inquiry or order list.
Dimensions
| DN | Dimensions (mm) | ||||
| Inch | mm | A | B | C | D |
| 1/2" | 15 | 1/2-14 NPT | 157 | 115 | 3/8-18 NPT |
| 3/4" | 20 | 3/4-14 NPT | 157 | 115 | 3/8-18 NPT |
| 1" | 25 | 1-11.5 NPT | 157 | 115 | 3/8-18 NPT |
| 1-1/4" | 32 | 1-1/4-11.5 NPT | 157 | 115 | 3/8-18 NPT |
| 1-1/2" | 40 | 1-1/2-11.5 NPT | 157 | 115 | 3/8-18 NPT |