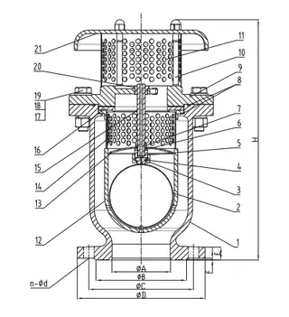
Product Item: Compound High Speed Air Bleed Valve
Body Material: ASTM A536 Grade 65-45-12
Size Range: 2-8 Inch
Working Pressure: 300 PSI
200 PSI and 250 PSI available upon request
Rated Working Pressure: 0.02 MPa - 1.6 MPa
Temperature Range: 0°C to 55°C
Connection Ends: Flange to ASME B16.1 CL 125
Coating: Fusion Bonded Epoxy Coating in accordance with ANSI/AWWA C550


