ASTM A536 GR. 65-45-12 Y Strainer, AISI 304 Screen, 500 PSI

ASTM A536 GR. 65-45-12 Y Strainer, AISI 304 Screen, 500 PSI

Key Specifications / Features

This Ductile Iron Y-Type Strainer is manufactured with an ASTM A536 Grade 65-45-12 body. It features a high-quality AISI 304 stainless steel screen for effective filtration, capable of withstanding pressures up to 500 PSI. The strainer is equipped with ANSI/ASME B1.20.1 threaded ends for secure installation and comes with a painted surface.
Request a quote

Detail Information


Product Item: Threaded Y-Type Strainer
Body Material: Ductile Iron ASTM A536 Grade 65-45-12
Screen Material: AISI 304
Connection Ends: Thread to ANSI/ASME B1.20.1
Working Pressure: 500 PSI
Coating: Painting

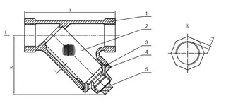
ASTM A536 Grade 65-45-12 Y Strainer Design Drawing

ASTM A536 Grade 65-45-12 Y Strainer Material Specification

ASTM A536 Grade 65-45-12 Y Strainer Dimensions

 

Send your message to this supplier

FAQs

Similar Products

Related Searches

Products you might also like