Our Welded Bonnet Gate Valves are high-quality forged steel gate valves, designed to meet the stringent requirements of API 602 and ASTM A105N standards. These valves feature a 3/4 inch (DN20) size and are rated for Class 1500 LB (PN250) pressure, ensuring robust performance in demanding applications. Equipped with socket weld ends and manual operation, they offer reliable control and ease of use.
Product Name: Welded Bonnet Gate Valves
Type: Forged Steel Gate Valve
Design Standard: API 602
Body Material: ASTM A105N
Size: 3/4 Inch, DN20
Pressure: Class 1500 LB, PN250
End Connection: SW
Operation: Manual
Medium: Water, Oil, Gas, etc
Temperature Range: -29°C to 595°C
Forged Steel Gate Valves are precision-engineered in full compliance with international standards such as API 602, ASME B16.34, DIN 3202, or their equivalents. These valves feature a compact yet exceptionally robust design, making them ideal for high-pressure, high-temperature applications.
An optional solid CoCr alloy wedge provides low-friction performance and extended service life. The packing rings are precompressed to 4000 psi to ensure a reliable, high-integrity seal. In welded bonnet configurations, the bonnet is threaded in and torqued to a specified value, then strength-welded to the body, offering double protection against leakage through the combined sealing of body threads and weld.
A fully guided wedge helps minimize wear on the seating surfaces. Optional features include double packing, leak-off connections, live-loading systems, and a packing blowout feature to simplify the removal and replacement of old packing.
Technical Specification
» Size Range: 1/2-2 Inch (DN15-DN50) (for Forged Items)
» Design Pressure: Class 150-2500 LB (PN10-PN420)
» Materials:
Carbon Steel, Alloy Steel, Stainless Steel, Duplex Steel, etc
ASTM A105N, A350 LF2, A182 F11, F22, F304, F304L, F316, F316L
» Trim Materials: 13%Cr, ASTM A182 F11, F22, SS 304, SS 304L, SS 316, SS 316L, and other specials
» End Connections: SW, FNPT, BW, RF, RTJ, Grooved
» Design and Manufacture: ASME B16.34, API 602
» Face to Face (End to End): ANSI B16.10
» Flanged Connection: ANSI B16.5
» Test and Inspection: API 598, API 6D
» Butt Welded Ends: ANSI B16.5
» Threaded Ends: ASME B1.20.1
» Socket-Weld Ends: ASME B16.11
» Temperature Range: -29°C to 595°C
» Medium: Water, Gas, Oil, etc.
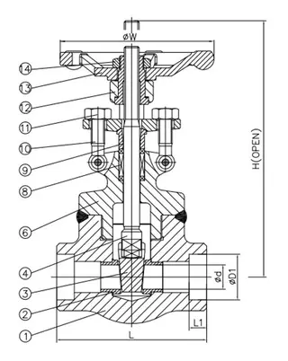
Structural Diagram

Product Features
» OS&Y (Outside Stem and Yoke) design for easy visual stem position indication
» Metal-to-metal sealing (available in API Trim #1, #5, #8, #10, and more)
» Optional locking device or stem extension for enhanced safety and accessibility
» Choice of bonnet types: bolted, welded, or pressure-sealed for various service needs
» Optional ISO 5211 direct mounting for actuator compatibility
» Available in full bore or reduced port configurations for optimized flow control