The DIN 3356 Bellows Sealed Globe Valve from the GS-C25 supplier is a high-quality valve designed for precise control and reliability. Made from cast carbon steel, it offers durability and resistance to various media. With a DN40 (1-1/2 inch) size and a pressure rating of PN16 (Class 150 LB), it is suitable for moderate-pressure applications. The valve features RF flanged ends for easy installation and integration into existing systems. Its manual operation ensures straightforward control.
Product Name: DIN 3356 Bellows Sealed Globe Valve
Design Standard: DIN 3356
Body Material: GS-C25, Cast Carbon Steel
Size: DN40, 1-1/2 Inch
Pressure: PN16, Class 150 LB
End Connection: RF
Operation: Manual
Medium: Water, Oil, Gas, etc
Temperature Range: -29°C to 595°C
The bellows sealed globe valve incorporates advanced foreign technology, featuring a double bellows design that is welded to the valve stem. This design maintains stable operating performance and prevents valve vibration caused by plug movement. At high temperatures, the stem does not come into contact with the medium, ensuring zero leakage. The valve also offers sufficient strength and toughness, capable of withstanding tens of thousands of cycles.
The handwheel is ergonomically designed for a longer service life and easy, convenient operation. The opening and closing mechanism of the bellows globe valve involves a plug-shaped valve with a flat or conical sealing face. The valve moves in a straight line along the centerline of the fluid flow. This type of valve is widely used due to its small friction between sealing surfaces during operation, durability, low opening height, ease of manufacturing, and straightforward dimensional requirements.
Technical Specification
» Nominal Diameter: 1/2–16 Inch, DN15–DN400
» Design Pressure: Class 150–600 LB, PN16–PN64
» Materials:
Body: 1.0619, GS-C25, ASTM A216 WCB, WCC, A352 LCB, LCC, A351 CF8, CF8M, CF3, CF3M
Bellows: SS 304, SS 316, SS 316L, etc
» End Connection: Flanged, Welded, or Threaded Ends
» Operation: Handwheel, Bevel Gear, Electric, Pneumatic
» Design and Manufacture: ANSI B16.34, DIN 3356
» Inspection and Testing: ISO 5208, EN 12266
» Flanged Ends Dimension: DIN 2543, DIN 2544, DIN 2545
» Butt-Welded Ends Dimension: EN 12627
» Face-to-Face and End-to-End: DIN 3202, EN 558-1, ISO 5752
» Pressure-Temperature Ratings: DIN 2401
» Test & Inspection: DIN 3230
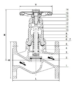
Structural Diagram

Product Features
Reasonable Structure, Reliable Sealing, Excellent Performance, and Beautiful Appearance: The bellow-sealed globe valves are designed with a rational structure, ensuring reliable sealing and excellent performance. They also feature an aesthetically pleasing appearance.
Broad Material Availability: We offer a wide range of cast body and trim materials for its bellow valves. This versatility often provides the most economical solution for various process and steam systems.
Sealing Surface: The sealing surfaces are hard-faced with Cr.Alloy, which is resistant to wear, corrosion, and friction. This treatment ensures a longer service life and tight shut-off double sealing for perfect operation.
Stem: The stem undergoes quenching and tempering, followed by nitriding treatment. These processes ensure excellent anti-corrosion and anti-friction properties.
Optional Stem Position Indicator: An optional stem position indicator is available to provide a more direct visual indication of the valve's on/off status.