The China Carbon Steel Check Valves Manufacturer offers a robust Swing Check Valve designed for high-pressure applications. This valve features a 1-inch (DN25) size and is rated to handle pressures up to 3000 PSI. It is made from ASTM A216 WCB cast carbon steel, ensuring durability and reliability in demanding industrial environments. The valve has a full port design, which minimizes pressure drop and maximizes flow efficiency. It is equipped with NPT threaded ends for easy installation and maintenance.
Product Name: Carbon Steel Check Valves, Full Port
Type: Swing Check Valve
Body Material: Carbon Steel ASTM A216 WCB
Size: 1 Inch, DN25
Pressure: 3000 PSI
End Connection: NPT Threaded
Medium: Water, Oil, Gas, etc
Temperature Range: -20°C to 80°C
This top-entry swing check valve is available in various materials such as ductile iron, carbon steel, and aluminum bronze, with sizes ranging from 1 inch to 4 inches. Stainless steel discs are included as standard. The Series D has been enhanced in design to simplify bonnet removal. Thanks to the valve's patented Hinge-Works feature, it boasts a longer service life. Suitable for a variety of industrial applications, including hydraulics, pneumatics, pumps, and plumbing, this valve is particularly well-suited for oil and gas production lines where backflow prevention is crucial. The swing check valve is designed for easy maintenance with top-entry access to the internals. Its primary function is to prevent the backflow of fluid in the pipeline.
Technical Specification
» Product: Oil Field Swing Check Valve
» Size Ranges: NPS 1-4 Inch (DN25-DN100)
» 2 Inch, 3 Inch with plug on the cap
» 1 Inch without plug on the Cap
» Pressure: 3000 to 5000 PSI WP
» Body Material: ASTM A216 WCB
» Disc material: SS 304
» Seat and Seal: Viton
» Port: Full Open
» NACE MR-0175 Compliance
» Inspection and Test Acc. to API 598
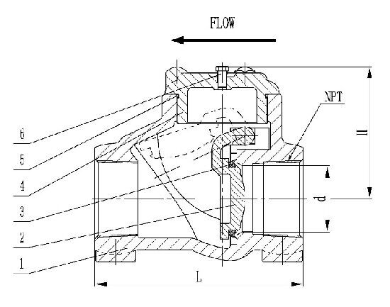
Structural Diagram

Main Parts and Materials
|
No. |
Part Name |
Material |
|
1 |
Body |
ASTM A216 WCB |
|
2 |
Disc |
ASTM A351 CF8 |
|
3 |
Seat |
VITON, METAL |
|
4 |
Bonnet |
ASTM A216 WCB |
|
5 |
Gasket |
VITON |
|
6 |
Plug |
ASTM A105 |
Main Dimensions (mm)
|
Size |
Port |
End |
Pressure |
L |
H |
d |
NPT |
Weight(kg) |
|
1 Inch |
FB |
FNPT |
3000 |
108 |
82 |
25.4 |
11.5NPT |
2.66 |
|
2 Inch |
FB |
FNPT |
3000 |
160 |
104 |
50.8 |
11.5NPT |
5.50 |
|
3 Inch |
FB |
FNPT |
3000 |
210 |
136 |
77 |
8NPT |
8.99 |
|
4 Inch |
FB |
FNPT |
3000 |
254 |
198 |
101 |
8NPT |
26.20 |