The China 2PC Oilfield Ball Valve Supplier offers a versatile and durable carbon steel ball valve designed specifically for demanding oilfield applications. This valve features a 2-piece construction, allowing for easy maintenance and inspection. It is available in custom sizes to meet specific requirements and can handle pressures up to 5000 PSI, ensuring robust performance under high-pressure conditions. The valve is equipped with NPT (National Pipe Thread) and LP (Low Pressure) ends for versatile connectivity options and features a full port design to minimize pressure drop and maximize flow efficiency.
Product Name: 2PC Oilfield Ball Valve, FP
Body Material: Carbon Steel
Size: Custom
Pressure: 5000 PSI
End Connection: NPT & LP
Operation: Lever
Medium: Water, Oil, Gas, etc
Temperature Range: -20°C to 150°C
This ball valve is specifically designed for oil field applications. It comprises a ball valve body and a valve tube. The ball valve body features valve tubes on both the left and right sides. Inside the ball valve body, the right side of the inner cavity is equipped with a secondary slide rail. The valve rod extends through the entire ball valve body. At the top of the valve rod, a stabilizing block is installed. A handwheel is securely attached to the top of the stabilizing block. Additionally, a limit device is housed within the inner cavity of the valve rod.
Technical Specification
» Type: Oil Field Thread Ball Valve
» Size Ranges: NPS 2-4 Inch (DN50-DN100)
» Temperature Range: -29°C to 120°C
» Pressure: 3000 PSI, 5000 PSI
» Body and Bonnet Material: ASTM A216 WCB
» Seats Material: DELRIN
» Ball and Stem Material: SS 420, SS 304, SS 316
» Ends Connections: ASME B1.20.1 (NPT), API 5B LP
» Inspect and Test: API 598
Product Features
» Threaded Body construction
» Adjustable Packing Gland
» Blow-out-Proof Stem
» Lockable Lever Handle
» Lever Operated, Threaded
» Floating Ball
» Fire Safe Design
» Rugged Locking Device
» Grease Fitting
» NACE MR0175 Compliant
» Full Port or Reduce Bore optional
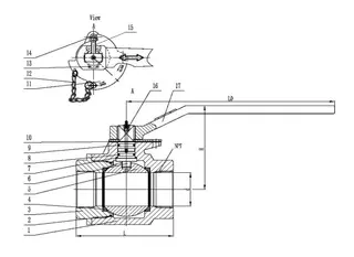
Structural Diagram

Materials of Main Parts
|
No |
Part |
Material |
|
1 |
Body |
ASTM A216 WCB |
|
2 |
Body Seal |
VITON |
|
3 |
Bonnet |
ASTM A216 WCB |
|
4 |
Seats |
DELRIN |
|
5 |
Ball |
SS 420, SS 304, SS 316 |
|
6 |
Stem |
ASTM A276 420 |
|
7 |
Thrust Bearing |
PTFE |
|
8 |
Stem Seal |
VITON |
|
9 |
Stem Seal |
VITON |
|
10 |
Stem Bearing |
PTFE |
|
11 |
Stop Plate |
CS+Ni |
|
12 |
Pin with chain |
Spring Steel |
|
13 |
Retainer Ring |
Spring Steel |
|
14 |
Stop Pin |
Carbon Steel |
|
15 |
Hexagon Bolt |
Carbon Steel |
|
16 |
Grease Zerk |
Ductile Iron |
|
17 |
Handle |
Spring Steel |
Main Dimensions (in)
|
Size |
Port |
Pressure |
L |
H |
d |
NPT |
Lo |
Weight (Lbs) |
Torque (in.Lb) |
|
2 Inch |
RP |
3000 PSI |
5.51 |
5.07 |
1.5 |
11.5 |
10 |
12.15 |
1750 |
|
2 Inch |
RP |
5000 PSI |
5.51 |
5.07 |
1.5 |
11.5 |
10 |
14.20 |
2700 |
|
3 Inch |
RP |
3000 PSI |
8.24 |
2 |
2 |
8 |
10 |
23.02 |
2350 |
|
4 Inch |
RP |
3000 PSI |
8.72 |
3 |
3 |
8 |
20 |
42.90 |
3660 |