Diaphragm Pneumatic Globe Control Valve, 3/4 IN, 300LB, CF8M

Diaphragm Pneumatic Globe Control Valve, 3/4 IN, 300LB, CF8M

Key Specifications / Features

Our Pneumatic Cage-Guided Single-Seated Control Valves are engineered for high differential pressure or heavy-duty applications prone to flashing or cavitation. With sturdy guides and a protective cage, they prevent erosion of the valve body. Featuring a compact design and an S-shaped flow passage, they minimize pressure loss while offering ample flow capacity. The valve plugs come in various Cv values for versatility. Equipped with a simple yet efficient mechanism, these valves ensure reliable flow shutoff performance. They are suitable for controlling small flows in high- or low-temperature environments and high differential pressure process lines.
Request a quote

Detail Information

Product Name: Diaphragm Pneumatic Globe Control Valve
Key Features: Small-Port, Cage-Guided, Single-Seated
Body Type: Straight-through, cast globe valve
Actuator Type: Single-acting diaphragm actuator
Body Material: Carbon Steel, ASTM A216 WCB, ASTM A217 WC6, ASTM A352 LCB, ASTM A351 CF8, CF8M, CF3, CF3M
Size Range: 3/4 Inch - 2-1/2 Inch, DN20-DN65
Pressure Rating: ANSI Class 125 LB - 600 LB, JIS 10K, 16K, 20K, 30K, 40K, PN16, PN40, PN64, PN100
Flow characteristics: Equal Percentage (EQ%), Linear
Inherent rangeability: 50:1, 30:1 or 20:1
End Connection: 
Flanged End: FF, RF, RJ, LG
Welded End: SW, BW
Threaded End: Rc
Temperature Range: -196 to +450 °C
Bonnet: 
Plain bonnet (-17 to 230 °C)
Extension bonnet Type1(-45 to -17 °C and 230 to 566 °C) 
Integral cast type (-100 to -45 °C)
Welded type (-196 to -100 °C)

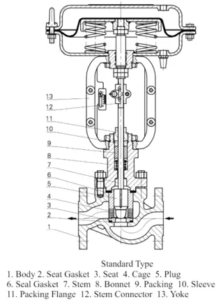
standard type
external dimension
External Dimensions
 

Send your message to this supplier

FAQs

Similar Products

Related Searches

Products you might also like