Tesla Model Y Body Is Manufactured by Single-casting (Part Two)
The patent describes a multidirectional die casting machine, which can be used to cast an integrated body, more specifically, an integrated body for electric vehicles. Multiple parts of the car body can be manufactured in one piece without further assembly and welding. In general, this can reduce the amount of body parts and operating steps.
Simply put, integrate the large and small frame parts together to form a large module. For example, directly cast the entire side of a car body. Then these large modules are assembled through automation and then they are welded to form a white body. In this way, intermediate links are reduced, which is more efficient.

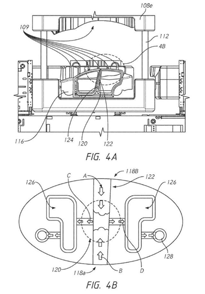
Then look at the patent drawings in detail. The operation steps described in the patent are more complicated, but to put it simply, the car body is first divided into several large modules to be manufactured separately. These large modules are manufactured by the machines on the top, left, right, front and back in the picture. Let's compare these machines to five workers for the time being.
After five workers have completed the manufacturing of these large modules, they will be pieced together to obtain a semi-finished body in white. Then through a small amount of welding, they are connected to form a complete white body.
As for how these five workers manufacture the major modules of the white body, the patent indicates that the method of die casting will be used. In other words, each of the five workers has a mold. By injecting molten metal into the mold, each module of the white body is obtained, and then they are pieced together.
According to the report, Tesla's giant Model Y casting machine made its first appearance at the Fremont factory in California on August 5, 2020.
According to Tesla's news on August 13, the Fremont factory would soon start the world's largest integrated casting machine. This monster could greatly simplify the manufacturing process of Model Y and made the cost of mass production Tesla reduce again.
It usually takes several years for traditional car manufacturers to build the four major workshops stamping, welding, painting and final assembly. When Musk encountered a capacity bottleneck, he just built a shed and started it.
This temporary shed is Tesla's production line. Musk personally stationed at Tesla's Fremont factory, and supervised for 24 hours. He had meals and slept in the factory, so that Tesla's weekly production capacity could soar to 5,000 vehicles.
The Model Y manufactured at the Fremont plant in California is characterized by a large number of casting parts at the rear, which benefits from its technological breakthroughs in large castings. Musk said that Tesla successfully integrated 70 parts in Model 3 into 2 parts in Model Y.
The honeycomb structure on the inside of the wheel arches and the body beam of the Model Y body is very similar to the honeycomb structure on the Cadillac's CT6 body, which should be a casting process.
Tesla technology propagated that when there was a large casting machine, body parts would be reduced even more. The body frame could be directly integrally formed by this huge casting machine, obtaining the effect of 70 in 1. After the body manufacturing process is converted to casting design, the design and expenditure of assembly robots will be greatly reduced, so that batch automated production can be carried out faster.
If all these are true, they will raise a new question. In the past three years, Tesla has paid more than 2 billion US dollars in sinking investment to push automation, and the company was at great risk. Model 3 has just gained a foothold in the global market, and Tesla immediately made a comeback? Even considering the timing of the patent application, Tesla seems to be filling the old pit while digging a new one.
Send your message to this supplier
Related Articles from the Supplier
Related Articles from China Manufacturers
Related Products Mentioned in the Article