1.
Introduction
A
ball valve is widely used in marine pipelines to realize the function of connecting and stopping the seawater due to its advantages of small fluid resistance, rapid opening and closing as well as convenience. At present, the ball valves used in the seawater pipelines of ships are generally made from copper alloy or stainless steel, and its structure is a soft sealing structure with an elastic valve seat or a floating valve seat. In the process of use, this kind of ball valve has the disadvantages of having weak resistance to seawater corrosion, short life, and frequent maintenance. The titanium alloy is used to make the ball valve and a new type of integral elastic compensation soft sealing structure is designed in this article based on the above shortcomings. The structural design, sealing structure design of seats, and material selection of the new
marine titanium alloy ball valve are introduced in this article.
2.
The structure design of ball valves
According to the support method of the ball, ball valves can be divided into floating ball valves and
trunnion mounted ball valves. Floating ball valves have the main advantages of having simple structure, convenient manufacture, low costs, and reliable operation. However, when the pressure is high, the operating torque of floating ball valves is very great. Trunnion mounted ball valves have small operating torque, small deformation for valve seats and stable sealing performance due to the acting force generated by the fluid pressure in front of the valve on balls being transmitted to the bearing when working, which are suitable for conditions with high pressure and large diameters. The marine titanium alloy ball valve described in this article adopts a trunnion mounted ball structure, as shown in Figure 1.
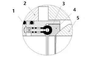
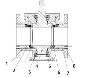
1.Valve bodies 2. O rings 3.Valve seats 4. Bearings 5. Ball trunnion 6. Lower glands 7. Hollow rubber rings 8. Floating supports 9. Inner compression nuts 10. Outer compression nuts
Figure 1 Schematic diagrams of the structure of a marine titanium alloy ball valve
In order to facilitate assembly, the ball valve adopts an integral top mounted structure. The valve body is made as a whole, and the valve bonnet is set on its upper part. The ball shaft is installed from the upper part of the valve body. The upper and lower ball shaft adopts tapered roller thrust bearings, which can adjust the upper and lower positions of ball shafts flexibly and conveniently and bear various loads acting on the ball shaft at the same time, ensuring that the ball valve has good operability.
3.
Design of the main sealing pair of the ball valve
3.1
Structure
A new type of integral elastic compensation soft sealing structure for
marine titanium alloy ball valves is designed (Figure 2), which mainly consists of valve seats, hollow rubber rings, floating supports, compression nuts, and O rubber rings. The structure is characterized by that both ends of the valve seat's body are arc surfaces; one end of the arc surface is tightly attached to the sphere to form a sealing surface, and the other end of the arc surface is attached to the hollow rubber ring. The valve seat and hollow rubber ring are inlaid in sequence in the floating supports, and they are fixed in the valve body's channel by a compression nut. The hollow rubber ring is hollow inside, and a cylindrical hole extends outside the hollow rubber ring, so that the fluid medium flows into the hollow rubber ring through the groove.
1.Floating supports 2. Valve bodies 3. Hollow rubber rings 4. Valve seats 5. Ball trunnion
Figure 2 Integral elastic compensation sealing structure
3.2
Sealing principles
The trunnion mounted ball valve makes the sealing pair (balls and valve seats) tightly lean, touch, or even embed with each other with the help of the sealing force generated by fluid pressure, elastic element force or pre-compression so as to reduce or eliminate the gap between the sealing surfaces to achieve the purpose of sealing. The sealing principles of the new integrated elastic compensation soft sealing structure is as follows: the pre-compression force generated by the compression and deformation of the hollow rubber ring pushes the seat's sealing surface to closely adhere to the spherical's surface so that the ball valve can maintain good performance under low pressure. When the pressure is high, the medium pressure is drawn into the hollow rubber ring to push the valve seat tightly on the spherical surface to achieve a good sealing effect. Meanwhile, the elastic force generated by the compression of the hollow rubber ring can make up for the wear of the valve seat automatically.
3.3
The analysis of sealing performance
Under the condition that materials of valve seats, surfaces of spheres and sealing surfaces of valve seats are the same, and the sealing performance of the trunnion mounted ball valve mainly depends on the value of the sealing specific pressure q. The calculation formula is as the following:

(1)
In formula (1), q is sealing specific pressure of the ball valve.
DMW is the outer diameter of the sealing surface of valve seats, mm;
DMN is the inner diameter of the sealing surface of valve seats, mm;
Q is the resultant force acting on the sealing surface of the valve seat along the direction of the fluid flow.
Q equal s to F (P, qmin, DMW, DMN, Dm, f) (2)
P is the pressure of the fluid medium.
Qmin is the minimum sealing specific pressure required for the ball valve’s sealing.
Dm is the maximum diameter of the acting surface of the fluid.
F is the amount of wear on the valve seat.
Substituting formula (2) into formula (1), we can get formula(3).
When the trunnion mounted ball valve is working at constant fluid medium pressure, P, DMN and qmin in the formula (3) are all fixed values, while Dm and DMW all change with the change of the wear f. It can be seen that a specific functional relationship can be established between the sealing specific pressure q and the wear f of valve seats.
Figure 3 is a characteristic curve between the sealing specific pressure and wear of the valve seat of the trunnion mounted ball valve through a large number of experiments and calculations.
Figure 3 The characteristic curve between the sealing specific pressure and wear of the valve seat of the ball valve
It can be seen from Figure 3 that the OA and OB curve both decrease with the increase in the amount of wear, and the seal specific pressure gradually decreases. However, the wear amount fb of the OB curve is much greater than the wear amount fa of the OA curve when they reach the minimum sealing specific pressure. This characteristic curve fully demonstrates that the service life of the ball valve with the new integral elastic compensation sealing structure is much longer than that of the traditional elastic sealing structure ball valve. The reason is that the traditional structure of elastic valve seats mainly relies on the pre-tightening force generated by the compression of the spring and the acting force of the fluid medium in a constant area to provide the sealing specific pressure required for the ball valve's sealing. When the amount of wear increases, the pre-tightening force gradually reduces, but the fluid force does not change, resulting in a faster reduction of the sealing specific pressure to the minimum seal specific pressure. The new integral elastic compensation seal structure mainly relies on the pre-tightening force generated by the compression of the hollow rubber ring and acting force of the fluid on the area of the hollow cavity to provide the sealing specific pressure required for the ball valve's sealing. When the amount of wear increases, although the compression pre-tightening force gradually decreases, the hollow rubber ring cavity expands outward under the pressure of the fluid medium. The increase of the inner cavity area of the hollow rubber ring leads to the increase of the fluid force. The trend of the reduction of the sealing specific pressure becomes much smoother, thereby prolonging the service life of the ball valve.