Product Name: Full Lift Spring Safety Valve with Radiator
Design Standard: API 526
Body Material: ASTM A216 WCB
Size: DN80, 3 Inch
Pressure: PN64, Class 400 LB
End Connection: Groove Flanged
Medium: Steam, Air
Spring-loaded full-lift safety valves are designed for use in equipment and pipelines that handle steam and similar media. The working temperature limits for different types are as follows: Type C is suitable for temperatures below 425°C, Type I for temperatures below 500°C, and Type V for temperatures below 550°C. These safety valves serve as additional pressure protection devices. The flange connection dimensions comply with the first series of the JB/T 79-94 standard or can be customized according to customer specifications.
Technical Specification
» Product model: SFA48Y
» Normal Size Range: 1/2-12 Inch (DN15-DN300)
» Normal Pressure Rating: Class 150-600 LB (PN16-PN100)
» Design and Manufacture: GB/T 12243-1989, API RP 520, 521, API 526, API 527
» Face to face(end to end): GB/T 14087, JB/T 6441, JB/T 2203, JB/T 9624, JB/T 53170
» Flanged connection: ASME B16.5, DIN 2543-2545, EN 12627
» Test and inspection: API 598, DIN 3230, MSS SP-117
» Materials: Carbon Steel, Stainless Steel, Alloy Steel, Duplex or Other Specials
» Ends Connections: RF Flanged, Groove Flanged
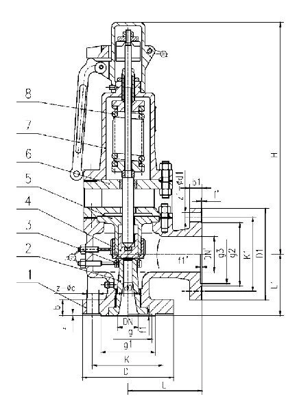
Structural Diagram

Main Parts and Materials
|
No |
Name of Parts |
Carbon steel |
Alloy Steel |
Alloy Steel |
|
1 |
Body |
A216 WCB |
1Cr5Mo |
15Cr1Mo1V |
|
2 |
Nozzle |
1Cr5Mo |
1Cr5Mo |
12Cr1MoVA |
|
3 |
Adjusting Ring |
2Cr13 |
SS 304 |
SS 304 |
|
4 |
Disc |
2Cr13 |
17-4PH |
17-4PH |
|
5 |
Guide Sleeve |
2Cr13 |
SS 304 |
SS 304 |
|
6 |
Radiator |
ZG230-450 |
ZG230-450 |
ZG230-450 |
|
7 |
Bonnet |
ZG230-450 |
ZG230-450 |
ZG230-450 |
|
8 |
Spring |
50CrVA |
50CrVA |
50CrVA |
Source: https://www.kosenvalve.com/full-lift-spring-safety-valve-api-526-astm-a216-wcb-dn80.html
Copyright © 2015-2025 China Manufacturers, CNMFRS.COM, All rights reserved.
谷歌优化(Google SEO)
