Full Lift Spring Safety Valve, API 526, ASTM A216 WCB, DN80

Full Lift Spring Safety Valve, API 526, ASTM A216 WCB, DN80

Key Specifications / Features

The Full Lift Spring Safety Valve Factory offers a high-performance valve designed for radiator applications. Constructed with ASTM A216 WCB carbon steel, it ensures durability and strength. The valve features a DN80 (3-inch) size with a pressure rating of PN64 (Class 400 LB), making it suitable for high-pressure systems. Equipped with groove flanged ends as per API 526 standards, it provides secure and reliable connections.

Request a quote

Detail Information

Product Name: Full Lift Spring Safety Valve with Radiator
Design Standard: API 526
Body Material: ASTM A216 WCB
Size: DN80, 3 Inch
Pressure: PN64, Class 400 LB
End Connection: Groove Flanged
Medium: Steam, Air

Spring-loaded full-lift safety valves are designed for use in equipment and pipelines that handle steam and similar media. The working temperature limits for different types are as follows: Type C is suitable for temperatures below 425°C, Type I for temperatures below 500°C, and Type V for temperatures below 550°C. These safety valves serve as additional pressure protection devices. The flange connection dimensions comply with the first series of the JB/T 79-94 standard or can be customized according to customer specifications.

Technical Specification

» Product model: SFA48Y
» Normal Size Range: 1/2-12 Inch (DN15-DN300)
» Normal Pressure Rating: Class 150-600 LB (PN16-PN100) 
» Design and Manufacture: GB/T 12243-1989, API RP 520, 521, API 526, API 527
» Face to face(end to end): GB/T 14087, JB/T 6441, JB/T 2203, JB/T 9624, JB/T 53170  
» Flanged connection: ASME B16.5, DIN 2543-2545, EN 12627
» Test and inspection: API 598, DIN 3230, MSS SP-117
» Materials: Carbon Steel, Stainless Steel, Alloy Steel, Duplex or Other Specials 
» Ends Connections: RF Flanged, Groove Flanged

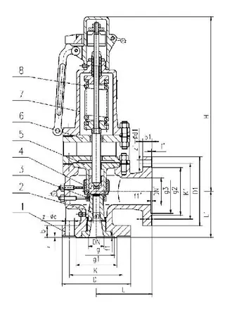
Structural Diagram

Full Lift Spring Safety Valve with Radiator Structural Diagram

Main Parts and Materials

No

Name of Parts

Carbon steel

Alloy Steel

Alloy Steel

1

Body

A216 WCB

1Cr5Mo

15Cr1Mo1V

2

Nozzle

1Cr5Mo

1Cr5Mo

12Cr1MoVA

3

Adjusting Ring

2Cr13

SS 304

SS 304

4

Disc

2Cr13

17-4PH

17-4PH

5

Guide Sleeve

2Cr13

SS 304

SS 304

6

Radiator

ZG230-450

ZG230-450

ZG230-450

7

Bonnet

ZG230-450

ZG230-450

ZG230-450

8

Spring

50CrVA

50CrVA

50CrVA

Similar Products

Related Searches

Products you might also like

Send your message to this supplier