Overhaul of main check valves in power plants
Extraction check valve
Check valves are valves used to prevent backflow of media in pipes and equipment. The steam exhaust check valve is arranged on each of the exhaust pipes of the external heater of the steam extraction and regenerative system in the steam turbine unit. The function of the valve is that the valve plate is automatically closed when the unit is under load, preventing the steam in the steam side of the heater and the steam in the steam inlet pipe from flowing back into the steam turbine, causing the steam turbine to overspeed and avoid accidents.
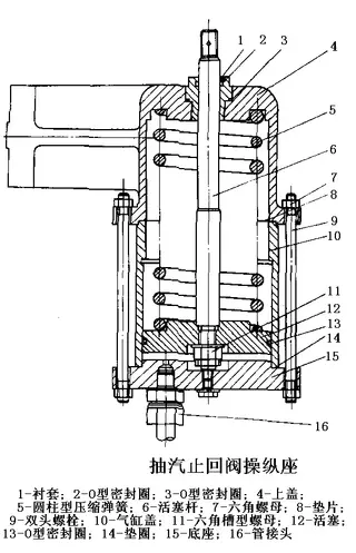
The extraction check valve of the imported 300MW unit is a gas-controlled swing-type check valve. The structure is shown in the figure, and the structural diagram of the air control seat is shown in the figure. The extraction check valve is mainly composed of valve body, valve plate, shaft and bushing, while the air control seat is composed of piston, cylinder block, door rod and spring.

The extraction check valve is closed when the unit is started. When the heaters of each level are randomly started, the air control seat of the extraction check valve is inflated, the piston rod drives the rocker arm to rotate, and the check valve bushing is opened to the limit of the valve plate shaft, and the valve plate is in a free state, the valve plate is opened by the suction pipe pressure, and the steam enters the heater through the valve.
During normal operation of the unit, the check valve plate remains in the normally open position due to the extraction pressure. When the unit is under load and shutdown, the extraction pressure drops suddenly, and the valve plate is quickly returned to its seat by its own weight, which closes the valve, thereby preventing the steam in the heater and the pipeline from flowing back into the steam turbine to achieve the protection function.
The preparation work before the inspection of the extraction check valve has the following contents:
After the equipment is shut down, and the power supply and the air source are cut off, loosen the intake and outlet connections of the pneumatic control seat, remove the pin connecting the piston rod of the operating seat to the check valve lever, loosen the fixing bolts of the operating seat, and remove the operating seat and then place them quantitatively. Then, do the following work.
1. The valve disintegration
(1) First use the marker to make the mark of the cover and the valve body, then loosen the cap bolt to remove the cap.
(2) Remove the bearing, the oil retaining ring and the lever on the side of the lever shaft and the air control seat, and set them in a fixed position.
(3) Loosen the large seal nut and remove the large pressure ring.
(4) After making the matching mark, loosen the fixing bolt of the large bracket, remove the large bracket, and set it.
(5) Remove the lever shaft and bushing and set it in place.
(6) Remove the small bracket on rocker shaft side and accessories and set them.
(7) Loosen the fixing nut on the small pressure ring, remove the small pressure ring, and place it quantitatively.
(8) After making the matching mark, loosen the fixing bolt on the flange cover, remove the flange cover, and set it.
(9) Remove the rocker arm and the valve core and set it in place.
(10) Take out the rocker arm and the valve core, and place them in a fixed position.
2. Valve cleaning and inspection

(1) Check the valve wire on the valve core and the valve body. There should be no grooves, air holes and traces across the sealing surface that affects the sealing performance. The contact should be uninterrupted throughout. If it is found that defects affecting the sealing performance, it should be treated by grinding.
(2) Check the connection between the valve butterfly and the rocker arm. Adjust the gap between the gasket and the rocker arm to be between 1 and 1.2 mm. It should not be too large or too small. Otherwise, adjustment should be made. The connection between the valve butterfly and the rocker arm should be firm. The welded joint should be complete and free of cracks. The gap between the valve shaft and the rocker arm should meet the requirements.
(3) Check whether the clearance between the lever shaft, the rocker shaft and the size bushing and the rocker arm meet the requirements. The surface of each shaft and the inner wall surface of the bushing should be smooth and free of pits.
(4) Check the packing in the large sealing cover and the flange cover, it should be complete, if it is damaged, it should be replaced.
(5) Check the sealing surface of the valve cover and the valve body, which should be complete, without any grooves, sand holes and scratches that affect the sealing effect.
(6) Clean the sealing surface of the inspection bracket, the flange cover and the valve casing joint, and the old gasket adhered on the sealing surface should be cleaned and shoveled. The sealing surface should have no defects that affect the sealing effect.
(7) All keys and keyways should be cleaned and the connection should be good.
3. Valve reinstallation
Before the valve is reinstalled, the surface of each shaft and bushing should be rubbed with molybdenum disulfide powder to brighten it. The reinstallation should be carried out according to the reverse step of disassembly and be consistent with the assembly mark. The following points should be noted during the reinstallation process:
(1) After the valve butterfly is connected with the rocker arm, the thickness of the adjusting gasket can be adjusted to ensure that the angle of the valve butterfly switch reaches the angle required by the manufacturer. After that, the tightening nut should be welded to the valve butterfly.
(2) When the lever shaft, rocker arm shaft and rocker arm are assembled, the adjusting washer and rocker arm end of the lever shaft and the rocker arm end and the rocker arm shaft should have a clearance of 1 to 1.20 mm.
(3) When the bracket and flange cover connected to the valve shell and the outside of the rocker shaft and the lever shaft are reassembled and tightened, , care should be taken to keep the two shafts concentric to prevent the valve switch from being inactive or jammed.
(4) During the compression of the packing at both ends, ensure that the axes (lever shaft, rocker shaft) are active and not jammed.
(5) All gaskets should be updated.
4. The disassembly of the control seat
(1) After the upper cover of the control seat and the cylinder block, the cylinder block and the base are assembled and marked, remove the short bolts in the fastening studs of the upper cylinder and the base, and place them in a fixed position.
(2) Loosen the nuts of the two long fastening bolts at the same time or separately, all of which are required to be carried out slowly (alternately when loosening separately), until they are loosened, and place the bolts in a fixed position.
(3) Separate the upper cover of the control seat, the cylinder block and the base, and take out the piston, the door stem and the spring, and place them in a fixed position.
(4) Remove the split pin and the hexagonal nut so that the piston rod is separated from the piston, and place them in a fixed position.
5. Inspect and clean the control seat
(1) Check whether the inner wall of the piston cylinder is smooth.
(2) Check the cylindrical compression spring and record the length of the spring in a free state for comparison with the front (rear) inspection.
(3) Check whether the piston rod and piston surface is smooth.
(4) Check the sealing surface of the upper cover, the cylinder block and the base joint, which should be intact and cleaned.
6. Reassembly of the control seat
The reassembly of the control seat is carried out in the reverse step of disintegration, and the following points should be noted:
(1) Replace each O seal ring with new one, and use the temperature-resistant rubber seal ring;
(2) Silicone grease should be applied before the cylinder inner wall and piston surface are reinstalled to ensure lubrication;
(3) After the air control seat is reinstalled, the air stroke of the piston rod is verified by compressed air, which should meet the requirements of the manufacturer. The action of the piston rod should be continuous and without jamming.
7. Overall verification
The control seat is fixed on the valve body and connected to the lever of the valve to turn on the compressed air joint for overall verification.
Requirements:
(1) After assembly with the extraction check valve, the stroke of the compressed air switch shall be in accordance with the stroke specified by the manufacturer.
(2) During the switching process, the overall action should be continuous and there is no click phenomenon.
(3) The opening indication of the valve should be verified correctly, and the action switch is checked together with the thermal control. The display of the opening and closing is in accordance with the actual position indication of the valve, and the verification is completed.
Send your message to this supplier
Related Articles from the Supplier
Related Articles from China Manufacturers
Related Products Mentioned in the Article